ÜRÜN AÇIKLAMA
Minyatür modeldeki bu bilyalı ray şu özellikleriyle öne çıkmaktadır:
Yapı boyutu 15
BNS yapı şekli: Genişlik = Geniş, Uzunluk = Normal, Yükseklik = Standart
Kılavuz ray korozyona dayanıklı, martensitik çeliktendir
Tespitleme MA: Yukarıdan vidalama
Kapak AB: Kapak çıtası
Doğruluk sınıfı Yüksek
Kısmi parça sayısı: tek parçalı
Standart modelde ray
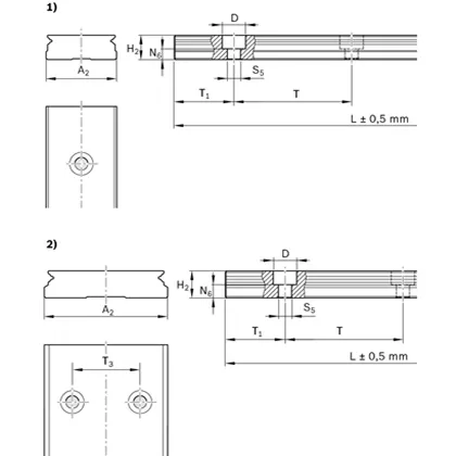
R0443 ve R0441 kılavuz kızağı için.
Delik şablonu boyları 9/M3, 12: tek sıralı
Delik şablonu boyu 15: çift sıralı



